服务热线:18534803890 欢迎访问云冈区煤机行业协会官方网站!
行业新闻

关于山西晋煤集团坪上煤业有限公司等12个智能化建设项目评定结果的公告

发布时间:2025-04-21 11:00:08

关于山西晋煤集团坪上煤业有限公司等12个智能化建设项目评定结果的公告

加星标,不错过→ IntelMining智能矿业 2025年04月17日 14:11 天津©山西省能源局


关于山西晋煤集团坪上煤业有限公司等12个智能化建设项目评定结果的公告


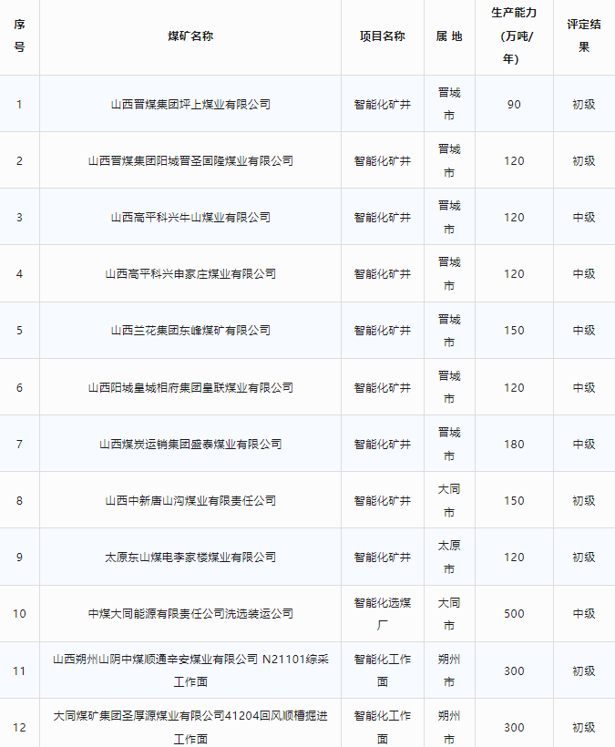
经省煤矿智能化建设工作专班办公室委托,晋城、大同、太原市能源局会同市应急局、国家矿山安全监察局山西局驻地监察执法处组织专家对山西晋煤集团坪上煤业有限公司等9个智能化建设项目进行了现场评定。经大同市能源局申请,省能源局按照规定组织专家对中煤大同能源有限责任公司洗选装运公司进行了现场评定。朔州市能源局按文件规定对山西朔州山阴中煤顺通辛安煤业有限公司N21101综采工作面等2个煤矿智能化建设项目进行了现场评定,现将符合《煤矿智能化建设评定管理办法》的智能化项目予以公告。


附件:全省煤矿智能化建设评定结果公告(2025年4月)

1745204525395.png


山西省能源局         

2025年4月10日       



❖免责声明:所载内容来源网络、微信公众号等公开渠道,转载稿件版权归原作者、机构所有,转载仅供参考、交流等非商业目的,如有侵权,请联系我们删除。